经读者求助,今天来曝光一个号称中信集团,国务院国资委背景的项目-国融金服,结果全靠造假。
国融金服之前叫中信透赢,号称是中信集团的侯化政,顶着国资委的头衔,先行试点搞出来的美股,日股,期货等等的交易平台。
侯化政是国融金服的法人持股35%,并且侯化政持有美国York business(佑客) 75%股份,国融金服在国内开展业务,拉客户拉资金,York是美国合法合规,受NFA监管的期货交易券商,一切看起来都是那么丝滑自然,背景强大!
并且连模式都设计的只拿两代收益,其他的是团队收益。目的就是为了忽悠小白,这不是CX模式,让大家相信这就是国资委背景的正规项目,然而并没有什么卵用,CX的定义并不是这样的,三代这种定义只是其中的一小部分而已。
佑客官网yorkal.com显示,York公司全称为YORK BUSINESS ASSOCIATES LIMITED(以下简称York Limited),注册号为2686741,地址为:21805 Field Parkway, Suite #360 Deer Park, IL 60010 United States。
根据佑客提供的NFA监管号查询,0309379监管号的公司全称为YORK BUSINESS ASSOCIATES LLC(以下简称York LLC),看起来Limited 跟LLC有点不一样,可能很多人都觉得没啥问题。
但是根据佑客官网yorkal.com留下的地址:21805 Field Parkway, Suite #360 Deer Park, IL 60010 United States,这是一个美国伊利诺伊州的企业,以下为伊利诺伊州的企业注册信息:公司名字,地址完全对的上,但是公司注册号为02451387,并不是2686741,公司成立于2008年2月1日,三名管理人员叫SABATELLO GREG,GORDY MARK,SASS BRIAN。
那个注册号为2686741的公司又是怎么回事呢?小编几经周折,终于查到了,这个公司根本不是美国公司,而是注册在香港的公司。注册号,名字完全对的上,公司成立于2018年4月26日,刚开始叫恒成科技,2019年4月3日改名为York Limited的,至于公司的股东信息,有兴趣的可以去查一下,需要花钱的。
破案了,国融金服所说,所用,所展示的York根本就不是美国正规交易券商那个York,而是一家注册在香港的公司,冒充美国York。
如果到此就结束的话,可能项目方,团队长又要给韭菜解释说香港York是美国York的子公司,来圆这个谎。愿意花钱的可以花钱查询一下香港York的股东信息就知道了,对于像小编这种一毛不拔的,喜欢挑战难度的人来说,只能通过其他途径证明香港York不是美国York的子公司了。
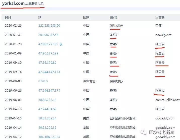
查询yorkal.com的历史注册信息得知,这个域名以前属于一个电话号码为130的人,在2018年改为了172的号码,最终在2019年5月28日改为了注册者为York Limited。
而yorkal.com解析的服务器IP为122.228.238.90,此IP地址为浙江温州,而www.yorkal.com则解析到了日本的服务器IP,而历史解析记录显示,用的阿里云的服务器。
并且解析记录显示,这个网站使用了cdn加速服务,服务提供商为jiasule.com,加速乐是一家中国的互联网企业。综合来看,应该是用的阿里云的服务器,用的内地加速乐的CDN加速服务。
而香港York Lmited的管理层就更有意思了(必须官网选英文才有管理层信息,中文界面没有),yorkal.com官网显示,CEO,COO,执行总裁,CFO都是外国人,但是名字没有一个跟美国York LLC一样。
而这个CEO呢,通过识图对比,发现除了yorkal.com官网上有他的照片,还有其他网站上有,CEO的本名叫John Martin,是三菱旗下Alliance公司的管理人员,负责组装生产和供应链管理的。
而这名COO呢,也是三菱旗下Alliance公司的管理人员,差点把Alliance工厂的管理层集体强行弄来搞金融了···
执行总裁终于不再是Alliance公司的了,但是别人是搞制造的,而且名字叫Jeff Norton。
如果说看了这么多,还相信香港York是美国York子公司的,只能说你是在掩耳盗铃,自欺欺人了。
美国York一个正规受监管的金融公司,如果真要成立一个香港子公司的话,会用阿里云的服务器吗?会用国内加速乐的加速服务吗?会连整个管理层都造假吗?差点把三菱旗下Alliance公司管理层集体搬过来搞金融了。
甚至还堂而皇之的,说招满5万会员了,只让出金不让注册入金了,我猜下一步就是放开大规模入金,然后圈钱跑路了吧,这招欲擒故纵用的好啊,为了使人相信是正规国资背景,真金融,连停止注册入金这招都想的出来!
上一篇:喜讯!公司汽车零部件业务再传捷报
下一篇:奇精机械:汽车零部件业务再传捷报

日股日经指数周一(22日)持续下挫,为连续第4个交易日收跌,并且在3周以来首度跌破4万点关卡,指数报今年6月28日以来新低。 日经指数收盘跌464.79点或1.16%,收39599点。东证指数挫1.16%或33.30点,收2827.53点,连续第3个交易日...
本文“国融金服的造假之路!侯化政也来圈钱了!”由壹米财经整理发布,欢迎转载收藏,转载请带上本文链接。
免责声明:【壹米财经】发布的所有信息,并不代表本站赞同其观点和对其真实性负责,投资者据此操作,风险请自担。部分内容文章及图片来自互联网或自媒体,版权归属于原作者,不保证该信息(包括但不限 于文字、图片、图表及数据)的准确性、真实性、完整性、有效性、及时性、原创性等,如有问题,请联系我们!